Ruichen Sealsin perus hydrauliset tiivisteet sisältävät pääasiassa monentyyppisiä tiivisteitä, joista jokaisella on omat edut. O-renkaita käytetään laajasti erilaisissa dynaamisissa ja staattisissa tiivistystilaisuuksissa niiden alhaisten valmistuskustannusten ja kätevän käytön vuoksi. Useimmat maat ovat laatineet sarjan O-renkaiden tuotestandardeja, joista yhdysvaltalainen standardi (AS568), Japanin standardi (JISB2401) ja kansainvälinen standardi (ISO 3601/1) ovat yleisempiä. Kansalliset standardit ovat GB3452.1 ja GB1235.
Tähtien muotoinen tiivistirengas on neljäsilmauslaite, jossa on X-muotoinen muoto, joten sitä kutsutaan myös X-muotoiseksi renkaaseen. Se on parannus ja parannus, joka perustuu O-renkaaseen. Sen poikkileikkausmitat ovat samat kuin Yhdysvaltojen O-rengas 568A-standardina, ja se voi periaatteessa korvata O-renkaan käytön.
Tähtirenkaiden edut
O-renkaisiin verrattuna tähtisenkailla on vähemmän kitkaresistenssiä ja vähemmän aloituskestävyyttä, koska ne muodostavat voiteluontelon tiivistyshuulten välillä. Koska sen flash -reuna sijaitsee poikkileikkauksen koverassa osassa, tiivistysvaikutus on parempi. Ei-ympyrän poikkileikkaus välttää tehokkaasti liikkuvan ilmiön edestakaisen liikkeen aikana.
Tähtien rengastyömekanismi
Tähtikengas on itsenäinen kaksoisvaikutteinen tiivistyselementti. Radiaaliset ja aksiaaliset voimat riippuvat järjestelmän paineesta. Paineen noustessa tähtisenkaan puristuksen muodonmuutos kasvaa, ja kokonaistiivistevoima kasvaa, mikä muodostaa luotettavan tiivisteen.
Kuinka valita tähdenmuotoinen tiivistirengas
Jos akselin ja reiän halkaisija tunnetaan, valitse sopiva tähdenmuotoinen tiivistirengas seuraavien kriteerien mukaisesti:
1. Staattisen tiivistyksen tai edestakaisen lineaarisen liikkeen: (1) Reiän tiivistyminen: Tähtien muotoisen renkaan sisähalkaisijan tulisi olla yhteensopiva uran kanssa tai vähemmän kuin noin 2% uran alahalkaisijasta. Koska esikompression tuottama esikompressiovoima voi tehokkaasti estää tähdenmuotoisen tiivistirenkaan kiertymisen ja liikkumisen. (2) Akselin tiivistys: Tähtien muotoisen renkaan sisähalkaisijan tulisi olla yhtä suuri tai akselin ulkoreunan halkaisija tai asianmukaisesti suurempi noin 0,2 ~ 0,3 mm, tai se voi olla noin 1% suurempi kuin akselin ulkoreunan halkaisija. Seurauksena on, että tiivistirengas on helpompi asentaa ja pitää pidempi käyttöikä.
2. Kiertotiiviste: Tähtien muotoisen renkaan sisähalkaisijan tulisi olla noin 2 ~ 5% suurempi kuin sen tiivistymisen akselin halkaisija. Koska tiivistirengas tuottaa kitkaa ja lämpöä, kun sitä käytetään pyörivällä liikkeellä, ja kumi kutistuu lämmitettäessä (Joule Effect). Siksi sen varmistamiseksi, että tiivistirengas voidaan voidella ja työskennellä luotettavasti, on valittava tähden muotoinen rengas, jonka sisähalkaisija on suurempi kuin akselin halkaisija. Yleensä tiivistirengas, jolla on pienempi poikkileikkaus, voi vastata staattisen tiivistyksen tarpeisiin. Päinvastoin, on valittava tiivistirengas, jolla on suurempi poikkileikkaus dynaamisen tiivisteen saavuttamiseksi. Korkean paineen tai suurten aukkojen tapauksessa on valittava korkea kovuus, jolla on korkeampi kovuus. Paras tapa on lisätä PTFE: n pidätysrengas korkean paineen suulakepuristusvaurioiden estämiseksi.
Päällystetty O-rengas yhdistää orgaanisesti kumin joustavuuden ja tiivistymisen teflonin kemiallisella vastustuskyvyllä. Se koostuu silikonista tai fluororubberin sisäisestä ytimestä ja suhteellisen ohuesta Teflon FEP: stä tai Teflon PFA: n ulkopinnoitteesta.
Materiaali: Teflon FEP ja Teflon PFA ovat olennaisesti samanlaisia, mutta Teflon PFA: lla on parempi korkea lämpötilankestävyys kuin Teflon FEP. Sovellettavaa lämpötila -aluetta Teflon -feP -kuori: -60 ℃ ~ 205 ℃ voidaan käyttää 260 ℃: ssä lyhyen ajan TEFLON PFA -kuoren: -60 ℃ ~ 260 ℃ voidaan käyttää 300 ℃ lyhyen ajan edut:
Kello 1. Erinomainen kemiallinen resistenssi, joka sopii melkein kaikille kemiallisille väliaineille
2. leveä lämpötila -alue
3. Hyvä puristusvastus
4.
5. Hyvä antikeskuksen vastainen
6. Korkea painekestävyys
7. Erinomainen tiivistyksen kestävyys ja pitkä käyttöikä
Levitys: pumput ja venttiilit, reaktioastiat, mekaaniset tiivisteet, suodattimet, paineastiat, lämmönvaihtimet, kattilat, putkilinjat, kaasukompressorit jne.
Sovellusteollisuus: Kemianteollisuus, lentokoneiden valmistus, lääketeollisuus, öljy- ja kemiankuljetus ja jalostaminen, elokuvateollisuus, jäähdytystekniikka, elintarvikkeiden jalostusteollisuus, paperinvalmistusteollisuus, väriaineiden valmistus, maalien suihkutus jne.
Asennusohjeet renkaiden tiivistämiselle
1. Osat, joissa tiivistysrenkaat on asennettu tai läpi, on oltava sileitä, ilman uria, uria ja teräviä kulmia. Sisäaukon karheuden tulisi saavuttaa 1,6 μ ja akselin karheuden tulisi saavuttaa 0,8um.
2. Levitä puhdasta valoöljyä tai rasvaa tiivistysrenkaan pinnan ja kosketuksessa olevien osien voitelemiseksi.
3. Jos tiivistysrengas on vaikea asentaa akseliin, upota se kuumaan veteen muutaman minuutin ajan sen laajentamiseksi. Tämä pehmennetty ja laajennettu O-rengas on helpompi asentaa. Asenna O-rengas, kun se on kuuma, ja sen koko palaa alkuperäiseen kokoon jäähdytyksen jälkeen.
4. Älä taivuta O-rengasta liian väkivaltaisesti, muuten se aiheuttaa ryppyjä teflonissa ja vaikuttaa sen käyttöön.
Pinnoitetun O-renkaan suositeltu puristus on seuraava:
Staattinen tiivistystila: 15%-20%
Dynaaminen tiivistystila: 10%-12%
Pneumaattinen tila: 7%-8%
Todellisessa puristuksessa tulisi ottaa huomioon työolot, etenkin tiivistymispaine ja muut tekijät.
Tuoteominaisuudet ja sovellukset:
| O-renkaan suorituskykyparametritaulukko |
|
|
|
|
Staattinen sinetti | Dynaaminen sinetti |
| Työpaine | Pidättämättä rengasta, 20 mpa max Pidätysrenkaan, 40 MPa Max, erityinen pidätysrengas 200MPA Max | Pidättämättä rengasta, 5MPA Max Pidätysrenkaan, korkeamman paineen kanssa |
| Nopeus | Vastavuoro 0,5 m/s Max, pyörivä 2m/s Max | |
| Lämpötila | Yleinen käyttö: -30 ~+110, erityinen kumi: -60 ~+250, pyörivä: -30 ~+80 | |
| Keskipitkä | Katso Materials -osio | |
| Standardi | O-renkaan poikkileikkaus halkaisija w |
|
|||||
| American Standard AS 568 British Standard BS 1516 | 1.78 | 2.62 | 3.52 | 5.33 | 6.99 | - | |
| Japanilainen standardi IT B2401 | 1.9 | 2.4 | 3.1 | 3.5 | 5.7 | 8.4 | |
| Kansainvälinen standardi ISO 3601/1 Saksalainen standardi DIN 3771/1 Kiinalainen standardi CB 3452.1 | 1.8 | 2.65 | 3.55 | 5.30 | 7.00 | - | |
| Edulliset metriset koot | 1.0 | 1.5 | 2.0 | 2.5 | 3.0 | 3.5 | |
| 4.0 | 4.5 | 5.0 | 5.5 | 6.0 | 7.0 | ||
| 8.0 | 10.0 | 12.0 |
|
|
|
||
| American Standard AS 568 (900 sarja) | 1.02 | 1.42 | 1.63 | 1.83 | 1.98 | 2.08 | |
| 2.21 | 2.46 | 2.95 | 3.00 |
|
|
|
|
| Star -renkaiden sovellusalue on erittäin leveä. Valitse oikea materiaali lämpötilan, paineen ja väliaineen mukaan. Tähtikorvan mukauttamiseksi tiettyyn sovellukseen olisi otettava huomioon kaikkien työparametrien väliset keskinäiset rajoitukset. Kun määritetään sovellusalue, huippulämpötila, jatkuvaa työlämpötilaa ja käyttöjaksoa on otettava huomioon. Pyörivissä sovelluksissa on myös otettava huomioon kitkalämmön aiheuttama lämpötilan nousu. | |||||
| Tekniset parametrit | Dynaaminen sinetti | Staattinen sinetti |
|
||
| Edestakainen liike | Kiertoliike |
|
|||
| Työpaine (MPA) | Pidätysrenkaan kanssa | 30 | 15 | 40 |
|
| Pidättämättä rengasta | 5 | - | 5 |
|
|
| Nopeus (m/s) | 0.5 | 2.0 | - |
|
|
| Lämpötila (℃) | Yleiset tilaisuudet: -30 ℃ ~+110 ℃ |
|
|||
| Erityiset materiaalit: -60 ℃ ~+200 ℃ |
|
||||
| Kiertotilaisuudet: -30 ℃ ~+80 ℃ |
|
||||
Tähtikormusmateriaali:
Materiaali on yleensä Shaw A70 -nitriilikumin nbr.
Päällystetty O-rengas:
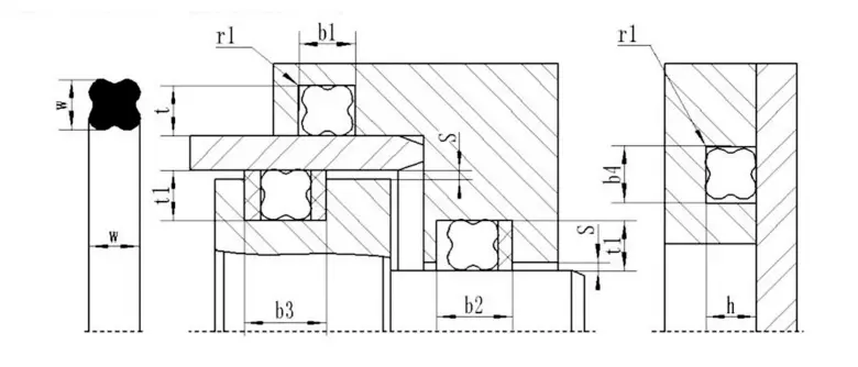
Kaavio kapseloidun O-renkaan urasta
Kapseloidun O-renkaan uran mittataulukko (suositeltu)
| Langan halkaisija d | A (mm) | B (mm) | ||
| Staattinen sinetti | Dynaaminen sinetti | Pneumaattinen sinetti | ||
| 1.78 | 2,36/2,49 | 1,42/1,52 | 1,55/1,60 | 1,63/1,65 |
| 2.62 | 3,56/3,68 | 2,08/2,21 | 2,29/2,36 | 2,39/2,44 |
| 3.53 | 4,75/4,88 | 2,82/3,00 | 3.10/3.18 | 3,22/3,28 |
| 5.33 | 7,14/7,26 | 4,27/4,52 | 4,67/4,80 | 4,90/4,95 |
| 6.99 | 9.63/9.65 | 5,59/5,89 | 6.15/6,27 | 6.43/6.48 |
Ruichen Seal PTFE Seal -asennusopas
Ⅰ. Asennusopas
1. Tiiviste on asennettava preloadioidulle puolelle painosuunnan kohdalla.
2. Sylinterin runko ja männän sauva on valmistettava push-in-viisteillä, jotka täyttävät yrityksemme näytteiden vaatimukset.
3. Terävien reunojen on oltava ilman uria ja pyöristettyjä tai viistettyjä.
4
5. Pöly, roskat tai muut vieraat hiukkaset on poistettava huolellisesti.
6. Terävien reunojen työkaluja ei tule käyttää.
7.
8. Jos tiivisteen huulen on kultava öljynpaineaukon läpi, huulten työntämiseen on käytettävä muovikuormaa, jotta reiän viemikka on vahingoittamasta tiivisteen huulia. Sylinterin reiät tulee olla syttymässä. (Kuva 3)
Ⅱ. Asennusmenetelmä
Avoimet (jaetut) urat voidaan asentaa ilman työkaluja.
Suljetun uran männän sauvatiivisteiden asennus (kuva 1)
1. Puhdista ja öljyä Kaikki tiivistealustat, tiivisteet ja asennustyökalut.
2. Aseta kumirengas uraan (ole varovainen, ettet kiertä sitä).
3. Paaditse PTFE -tiivisrengas munuaismuotoon muodostamatta terävää taivutusta, aseta puristettu PTFE -tiivistirengas uraan ja tasoita se varovasti käsin.
4. Työnnä talteenottomalli tiivisteeseen ja käännä mandrel varovasti. Jätä se minuutiksi ja poista mandrel. Asennus on valmis.
Männän tiivisteiden asennus suljetuissa urissa (kuva 2)
1. Puhdista ja öljyä Kaikki tiivistealustat, tiivisteet ja asennustyökalut.
2. Aseta kumirengas uraan (ole varovainen, ettet kiertä sitä).
3. Työnnä PTFE -tiivistysrengas opasholkkiin ja venytä tiivistysrengas.
4. Työnnä venytetty tiivistysrengas männän uralle.
5. Työnnä korjausholkki tiivistysrenkaaseen ja kierrä korjausholkki samanaikaisesti. Poista korjausholkki sen jälkeen, kun se on jättänyt sen minuutiksi ja asennus on valmis.
Huomaa: 1. Ota yhteyttä yritykseen, jos yrityksemme näytteessä määriteltyä tuotetta ei voida asentaa suljetulle uraan, mutta se ei sovellu avoimeen uralle.
2. Yllä olevaa PTFE -tiivisteiden asennusta ei voida soveltaa kaikkiin PTFE -tiivisteisiin. Ota tarvittaessa ota yhteyttä yritykseen.



























Osoite
No.1 Ruichen Road, Dongliuting Industrial Park, Chengyang District, Qingdao City, Shandongin maakunta, Kiina
Puh
Sähköposti