Qingdao Ruichen Sealing Technology Co., Ltd.
Qingdao Ruichen Sealing Technology Co., Ltd.
Tuotteet
X

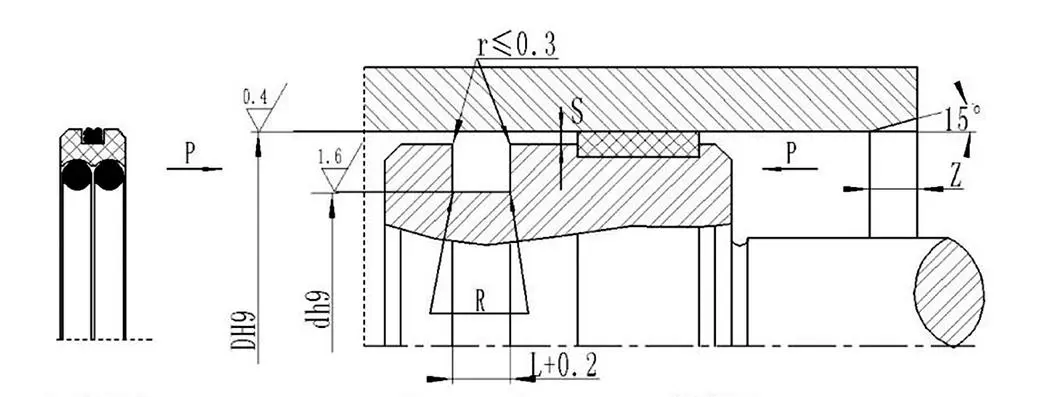
AQF-tyyppinen PTFE-yhdistetiiviste

Kiinalaisena valmistajana Ruichen Sealsillä on kyky kehittyä ja innovoida. Ruichen Sealsin markkinoille tuomassa AQF Type PTFE Compound Seal -tiivisteessä käytetään matalakitkaisten PTFE-tiivisterenkaiden ja öljynkestäviä elastomeerejä. Sillä on kompakti ulkonäkö ja vahva sopeutumiskyky, ja se soveltuu erityisesti elintarvikekoneiden, lääketieteellisten laitteiden ja puhtaiden ympäristöjen hydraulijärjestelmiin.

AQF-tyypin PTFE-yhdistetiiviste tarjoaa erilaisia ​​NBR/FKM-elastomeeri- ja PTFE1-PTFE4-tiivisterengasvaihtoehtoja. Se on saastumisen ja korroosionkestävä ja tukee räätälöintiä ja bulkkitukkumyyntiä.


Sovellettavat työolosuhteet

Paine Mpa

Lämpötila ℃

Nopeus m/s

Keskikokoinen

≤60

-35~+100 (NBR)

≤3

Hydrauliöljy, emulsio, vesi, kaasu jne.

-20~+200 (FKM)


Materiaalin valinta

1. Saatavilla olevat elastomeerimateriaalit: R01-nitriilikumi (NBR), RO2-fluorikumi (FKM) jne.

2. Tiivistysrenkaan materiaali: Vakiomateriaali: PTFE3; muut saatavilla olevat materiaalit: PTFE1, PTFE2 ja PTFE4.



Hot Tags: AQF-tyyppinen PTFE-yhdistetiiviste
Lähetä kysely
Yhteystiedot
Hanki kilpailukykyiset hinnat, tekninen tuki ja nopeat vastaukset. Lähetä eritelmäsi Ruichenille räätälöityjen tiivistysratkaisujen suhteen. Ilmaisia ​​näytteitä saatavilla.
X
Käytämme evästeitä tarjotaksemme sinulle paremman selauskokemuksen, analysoidaksemme sivuston liikennettä ja mukauttaaksemme sisältöä. Käyttämällä tätä sivustoa hyväksyt evästeiden käytön. Tietosuojakäytäntö
Hylätä Hyväksyä