Qingdao Ruichen Sealing Technology Co., Ltd.
Qingdao Ruichen Sealing Technology Co., Ltd.
Tuotteet
X

SPGO siellä

Jos etsit SPGO-tiivisteitä nopeisiin hydraulisiin ja pneumaattisiin sovelluksiin, valitse toimittajaksesi Ruichen Seals. Käytämme modifioitujen PTFE-tiivisteiden ja O-renkaiden yhdistelmää. Tuotteemme tarjoavat erinomaisen tiivistyksen, erittäin pienen kitkan ja kompaktin rakenteen, joten ne sopivat erityisen hyvin nopeille hydrauli- ja pneumaattisille sylintereille.

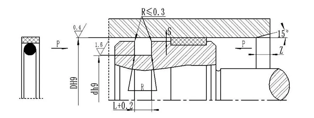
SPGO Seal on yhdistelmä suorakaiteen muotoisesta modifioidusta PTFE-tiivisterenkaasta ja O-renkaasta esijännityselementtinä. Se tarjoaa erinomaisen tiivistyksen, alhaisen kitkan ja kompaktin jalanjäljen. Se sopii nopeille hydrauli- tai pneumaattisille sylintereille.


Sovellettavat työolosuhteet (raja-arvot eivät saa näkyä samanaikaisesti)

Paine

Suurin puristusrako

Nopeus

Lämpötila

Keskikokoinen

< 16 MPA

S< 0,6 mm

<6 m/s

-35~+110

Mineraaliöljy (NBR-kumilla)

< 25 MPA

S<0,4mm

-20~+200

Mineraaliöljy (FKM-kumilla)

< 40 MPA

S<0,2mm

-30~+100

Ilmaa


Materiaalin valinta

1. Saatavilla olevat O-rengasmateriaalit: R01 Nitriilibutadieenikumi (NBR), RO2 Fluorikumi (FKM) jne.

2. Tiivistysrenkaan materiaali: Vakiomateriaali: PTFE3; muut saatavilla olevat materiaalit: PTFE1, PTFE2 ja PTFE4.

Tilausesimerkki: RC66-D*d*L-PTFE3-R01 (ulkohalkaisija*sisähalkaisija*uran leveys) PTFE3, R01-materiaalikoodi




Hot Tags: SPGO siellä
Lähetä kysely
Yhteystiedot
Hanki kilpailukykyiset hinnat, tekninen tuki ja nopeat vastaukset. Lähetä eritelmäsi Ruichenille räätälöityjen tiivistysratkaisujen suhteen. Ilmaisia ​​näytteitä saatavilla.
X
Käytämme evästeitä tarjotaksemme sinulle paremman selauskokemuksen, analysoidaksemme sivuston liikennettä ja mukauttaaksemme sisältöä. Käyttämällä tätä sivustoa hyväksyt evästeiden käytön. Tietosuojakäytäntö
Hylätä Hyväksyä