Qingdao Ruichen Sealing Technology Co., Ltd.
Qingdao Ruichen Sealing Technology Co., Ltd.
Tuotteet
X

Pyyhkijän rengas

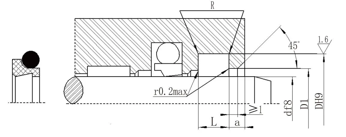
Ruichen Sealin (tunnettu männänvarren tiivisteiden valmistaja ja toimittaja Kiinassa) lanseeraama kaksoishuuliyhdistelmä pölytiiviste koostuu täytetystä PTFE-tiivisterenkaasta ja O-renkaasta. Siinä on kaksisuuntainen pölysuojaus ja automaattiset kulumisen kompensointitoiminnot, alhainen kitka, pitkä käyttöikä ja vahva sopeutumiskyky, ja sitä käytetään laajalti erilaisissa teollisissa liikeskenaarioissa, kuten edestakaisin, heiluvissa ja kierteissä.

Suorituskyky ja sovellukset

Kaksoishuuliyhdistelmäpyyhkimen tiiviste on kaksisuuntainen pyyhkimen tiiviste, joka koostuu PTFE-täytteisestä kaksoishuulen pyyhkimen renkaasta ja O-renkaasta. O-rengas tarjoaa esijännityksen, joka kompensoi PTFE-renkaan kulumista. Se sopii edestakaisin, värähteleviin tai spiraaliliikkeisiin.


Käyttöolosuhteet

Paine Mpa

Lämpötila °C

Nopeus m/s

Keskikokoinen

-

-35~+100 (vastaava O-rengas NBR)

6

Hydrauliöljy, emulsio, vesi jne.

-20~+200 (vastaa O-rengasta FKM)


Tilausesimerkki

Tilaa malli RCF02-80-PTFE3-R01

RCF02 - Malli 80 - Akselin halkaisija PTFE3 - Yleiskäyttöinen Modifioitu PTFE RO1 - Vastaava kumimateriaalikoodi

Nitriili (NBR) - R01, Fluorihiili (FKM) - RO2

Teknisten parametrien taulukko (voidaan toimittaa minkä tahansa kokoisia tuotteita parametrialueella)

Akselin halkaisijaalue d f8

Uran halkaisija D H9

Uran leveys L+0.2

Avoimen reiän halkaisija

D1H11

Avoimen reiän leveys a≥

Pyöristetyt kulmat R<

O-renkaan langan halkaisija

d0

4~11

d+4,8

3.7

d+1,5

2

0.4

1.80

12-64

d+6,8

5.0

d+1,5

2

0.7

2.65

65-250

d+8,8

6.0

d+1,5

3

1.0

3.55

251-420

d+12,2

8.4

d+2,0

4

1.5

5.30

421-650

d+16,0

11.0

d+2,0

4

1.5

7.00

651-1500

d+20,0

14.0

d+2,5

5

2.0

8.60


Hot Tags: Pyyhkijän rengas
Lähetä kysely
Yhteystiedot
Hanki kilpailukykyiset hinnat, tekninen tuki ja nopeat vastaukset. Lähetä eritelmäsi Ruichenille räätälöityjen tiivistysratkaisujen suhteen. Ilmaisia ​​näytteitä saatavilla.
X
Käytämme evästeitä tarjotaksemme sinulle paremman selauskokemuksen, analysoidaksemme sivuston liikennettä ja mukauttaaksemme sisältöä. Käyttämällä tätä sivustoa hyväksyt evästeiden käytön. Tietosuojakäytäntö
Hylätä Hyväksyä